Blog

17.04.2026
Nie stále je najnižšia cena najlepšia ponuka!
Rozumieme tomu - v dnešnej dobe je nutné šetriť kde sa dá. Prečo ale nie je stále najnižšia cena (aj oproti našim) to najlepšie? Povieme si niečo z pr...
čítať celé

07.04.2026
Máte hlučnú práčku? Najčastejšie príčiny a riešenie!
Hučanie práčky patrí medzi najčastejšie problémy, s ktorými sa domácnosti stretávajú. Spočiatku ide o nenápadný zvuk, no postupne sa môže zmeniť na ne...
čítať celé

07.04.2026
Reliable Delivery of Bearings, Belts and Oil Seals Across Central Europe
In today’s market, having high-quality products is no longer enough — fast and reliable delivery is just as important. At martino.sk, we continuously ...
čítať celé
- Úvod
- Podložky MB
- Podložka MB 19
Podložka MB 19

Rýchle odoslanieObjednávky vybavujeme bleskovo – vo väčšine prípadov odosielame ešte v deň prijatia.
Osobný odberPreferujete osobný kontakt? Tovar si môžete pohodlne vyzdvihnúť aj v našej kamennej predajni.
Veľkoobchodná spoluprácaSte veľkoodberateľ alebo výrobca? Ozvite sa nám – pri väčších objemoch ponúkame výhodné množstevné zľavy a individuálny prístup s možnosťou platby na faktúru..
We ship orders across the entire European Union.Customers from abroad can place orders with us, and we ship to all countries within the European Union.- Kompletné špecifikácie
- Parametre
- Na stiahnutie
Podložka MB 19Nie je skladom1,90 EUR/ ks1,54 EUR bez DPH
Kompletné špecifikácie
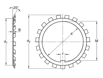
Podložka MB 19 slúži k zaisteniu hriadeľovej matici KM proti pootočeniu.
| d | 95 | mm | |
| d1 | 113 | mm | |
| d2 | 133 | mm | |
| B | 1.75 | mm | |
| f | 10 | mm | |
| M | 91.5 | mm |
Parametre
Vnútorný priemer95 mm
Na stiahnutie
Tovar zaradený v kategóriách








